Apprentice Events
Jack Jumper Fuse Replacement - Download PDF

Chief Judge: |
Mean Time: |
Drop Dead Time: |
|---|---|---|
Tyler Homan - Ocala |
4 minutes |
7 minutes |
Event Summary:
This event will be simulated energized and will be treated as such. In this event the apprentice will have to climb a 40ft pole, cover the neutral, and use proper hot sticks and Jack Jumper to replace both fuse doors (solid blades). A bag with 2 plastic guts and a shotgun will be hanging from the neutral rack. Apprentice must hang his/her own handline and pull up the 2 new doors and the jack jumper in a bag they bring with them.
Event Specifications:
- The apprentice will have 5 minutes to set up.
- Time starts at the judge’s signal with fall arrest detached from the pole.
- The apprentice must hang handline and pull bag up themselves.
- The neutral SHALL be covered on both sides of the spool.
- Both solid blades must be changed using a jack jumper and appropriate hot sticks and power cannot
be interrupted. - The eye shall be used to open and close the door.
- The cutouts will be mounted on an 8ft crossarm, roughly 6” s inside the dead-end bells. The stirrups will be mounted 9” s from the end of the dead end shoe. Time stops when the apprentice’s first foot touches the ground (after work is completed).
Event Supplied Materials
- Two new solid blade doors.
- A bag hanging from the neutral rack with two plastic guts and a 6 foot shotgun with a switch stick attachment on the universal end inside.


Apprentice Hurtman Rescue - Download PDF

Chief Judge: |
Mean Time: |
Drop Dead Time: |
|---|---|---|
Eddie Gluc - KUA |
4 minutes |
5 minutes |
Event Summary:
This event will be simulated dead. Time starts at the judge’s signal with apprentice standing at least an arm’s length from pole in any direction.
Note: The lineman’s belt, hooks and rubber gloves in bag will be lying on the ground at arm’s length from the pole. (You may tool up bare handed).
Event Specifications:
- Looking at the pole from the 8’ cross arm side, the hand line will be hung on the right side simulating an injury to a right-handed person. The hurt man will hang on the cross arm side of the pole with both ends of the safety straps through the braces. The neutral will be on the opposite side of the pole of the hand line. Note: The “OX Block” will be utilized with a minimum of two and a halfwraps or three clicks on the fiction bar. The OX Block will be attached to the arm just outside of the cross arm brace.
- Mannequin will be tied under arms with three half hitches. Note: (splice cannot be used as part of the hitches). The half hitch is the only acceptable knot. A 4" conduit will be used to measure tightness of knot.
- Apprentice must call out “headache” loudly when you drop out the split hand line.
- A Buckingham rescue trainer safety will be used on the mannequin. You must cut the orange safety rope. There will be a 10-point deduction for cutting the belt in the wrong place.
- Mannequin must be lowered smoothly to the ground without coming into contact with the pole and must be completely stopped within 5 feet of the ground then laid gently on the tarp. If the mannequin is not completely stopped there will be a 2 point deduction.
- Time will stop when the mannequin is on the ground and there is slack in the hand line. Note: There must be one gaff in the pole at all times when climbing down the pole and proper belt adjustment maintained as you will be judged until you leave the event.
- The mean time for this event is 4 minutes. The drop dead time is 5 minutes.
- The apprentice must use the hand-line provided.
- Rubber gloves will be required for this event. Gloves must be worn ground to ground.
- Deductions will be subtracted from 100, resulting in the final score.
* Photos are only to show where mannequin will be hung. Construction will be as the drawing shows.


78" Fiberglass Guy Link Change Out - Download PDF
Chief Judge: |
Mean Time: |
Drop Dead Time: |
|---|---|---|
Reed Towles – Talquin Electric |
5 minutes |
8 minutes |
Event Summary:
Apprentice must climb and change out a 78’’ fiberglass guy link they do not have to change out the roller unless it is dropped.
Note: No cover will be needed for this event.
Event Specifications:
- Apprentice will be allowed a 5-minute setup time before starting the event. During this time the apprentice may ask the event judge questions.
- Class 2 rated rubber gloves or higher shall be worn. Leather gloves are permitted during setup.
- Time will begin at the judge’s signal.
- Begin event at one arm length from the pole with the fall arrest detached from the pole.
- Apprentice must carry their handline and secure to the pole at their work zone.
- Anchors will be 10’ from base of pole.
- Guy attachments will be 24” from top of pole.
- Neutral will be 54” from top of pole.
- Apprentice may change out either guy link.
- Pins on the link must be facing the same way.
- After the event is over the link stick on the ground must have all hardware back in it, failure to do so will be a 2 pt deduction.
- Incidental contact with primary will be a 10 pt deduction.
- Time stops when apprentice’s feet touch the ground.
- Apprentice cannot take guy loose from anchor.
Apprentices will provide their own:
- Bag(s) of choice
- Handline
- Hoist/Grips/Slings etc.


Cross Arm Relocation - Download PDF
Chief Judge: |
Mean Time: |
Drop Dead Time: |
|---|---|---|
Nick Short - Lakeland |
6 minutes |
9 minutes |
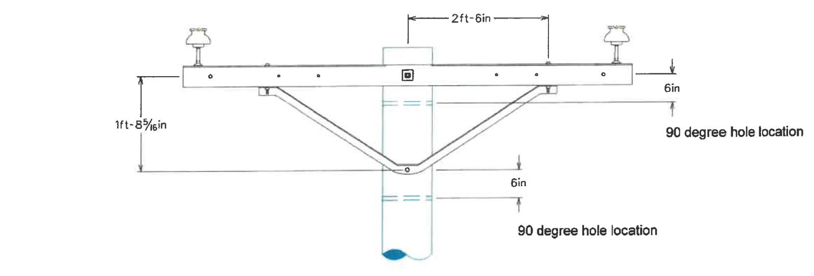
Event Summary:
This is a de-energized event. The event consists of relocating an 8 ft heavy wood cross arm with a steelbow brace 90 degrees from the original position. *The location of the hole you will relocate it to will be either 6" up or down and 90 degrees around the pole depending on the current position of the arm when you start the event*. There will be 2 mushroom insulators and pins mounted in the outside holes of the cross arm. The time will stop when the apprentice has set one foot on the ground. The apprentice will have a five-minute set up time before starting the event. Apprentices are required to carry a hand line and put into service during the event.
Event Specifications:
- Time starts at the judge's signal, after the five-minute set up time.
- Hardhat, safety glasses and leather gloves are required (Rubber gloves are not required)
- Apprentice will climb a 40 ft pole, the cross arm will be removed and relocated 90 degrees. The holes in the pole are pre-drilled, the steel bow brace and insulators will remain attached to the cross arm while relocating.
- The through bolt of the cross arm consists of 5/8 double-arming bolt with square washers and square nuts at each end of the bolt. The brace bolt will be a 5/8 machine bolt with the bolt head and washer on the backside of the pole, and the nut on the brace side.
- All bolts and materials shall be tighten using a wrench.
- Once complete, Apprentice must verbally acknowledge to the Judge when he railroads the block and drops the rope.
- Time stops when the apprentice has one foot on the ground.


Chief Judges: |
Mean Time: |
Drop Dead Time: |
|---|---|---|
Chief Judge: Casey Smith - City of Tallahassee |
? minutes |
? minutes |
Event Summary:
This event will represent mutual aid storm restoration. Each team will be composed of two apprentices
and one journeyman, all three from different companies. The apprentices must climb and the
journeyman must be thegroundman. This is a MANDATORY event and failure to participate will result in
the APP and/or JM team to receive a 10-point deduction to start their competition day (unless signed off
on by both Master Judges).
Event Specifications:
- You must be at your assigned event station at 8am ready to compete
- Time will start on Master Judge’s signal (Shotgun style start)
- May only use provided hand tools
- Competitors use their personal PPE, climbing gear and handline (all other equipment and tools provided)
Material Provided:
- Will be announced in your registration packet.
Tools Provided by Milwaukee:
- Will be announced in your registration packet.
Apprentice 2026 Written Test - Download PDF
Chief Judge: |
Mean Time: |
Drop Dead Time: |
|---|---|---|
Rocky Waldroup |
20 minutes |
25 minutes |
Event Specifications:
- The written test will take place Friday afternoon at 4:00 PM
- There will be 25 questions worth 4 points each.
- The questions will come from the 17th Edition of the APPA SAFETY MANUAL.
• Definitions
• Section 114: Cardiopulmonary Resuscitation (CPR), First Aid, and Automated External Defibrillators (AEDs)
• Section 115: Training
• Section 401- 411: Personal Protective Equipment
• Section 503.1 – 503.12: Vehicle Operations
• Section 507: Overhead Distribution and Transmission
• Section 509: Underground Lines and Equipment
• Section 513: Switching Control Procedures
• General Rules and the Competitor Packet - This will not be an open book test.
- No notes, cell phones or other electronic devices will be allowed.
- Your test score WILL count towards overall rank with the events on Saturday.
- NO time awards (time deductions for overall) will be given to competitors
If the apprentices’ utility does not currently use the APPA Safety Manual, copies may be purchased by contacting APPA’s publications department at (202) 467-2926 or by visiting APPA’s Product Store at www.PublicPower.org/Store.
Enter your email address in the





